Магазин запчастей для бытовой техники - Arlos
Москва
close
Выберите ваш регион
АбаканАлександровАльметьевскАнгарскАрзамасАрмавирАртемАрхангельскАстраханьАчинскБалаковоБалашихаБеларусьБелгородБердскБерезникиБийскБлаговещенскБратскБрянскВеликий НовгородВидноеВладивостокВладикавказВладимирВолгоградВолгодонскВолжскийВологдаВолховВоркутаВоронежВоскресенскВыборгГатчинаГеленджикГрозныйДедовскДербентДзержинскДзержинскийДимитровградДмитровДолгопрудныйДомодедовоДонецкЕвпаторияЕгорьевскЕкатеринбургЕлецЕссентукиЖелезногорскЖелезнодорожныйЖуковскийЗеленоградЗлатоустИвановоИвантеевкаИжевскИркутскИстраЙошкар-ОлаКазаньКалининградКалугаКаменск-УральскийКамышинКаспийскКемеровоКерчьКировКисловодскКлинКовровКоломнаКомсомольск-на-АмуреКопейскКоролёвКостромаКотельникиКрасногорскКраснодарКраснознаменскКрасноярскКурганКурскКызылЛенинск-КузнецкийЛипецкЛобняЛыткариноЛюберцыМагнитогорскМайкопМалаховкаМахачкалаМиассМоскваМурманскМуромМытищиНабережные ЧелныНазраньНальчикНаро-ФоминскНахабиноНаходкаНевинномысскНефтекамскНефтеюганскНижневартовскНижнекамскНижний НовгородНижний ТагилНовокузнецкНовокуйбышевскНовомосковскНовороссийскНовосибирскНовоуральскНовочебоксарскНовочеркасскНовошахтинскНовый УренгойНогинскНорильскНоябрьскОбнинскОдинцовоОктябрьскийОмскОрелОренбургОрехово-ЗуевоОрскПавловский ПосадПензаПервоуральскПермьПетрозаводскПетропавловск-КамчатскийПодольскПрокопьевскПсковПушкиноПятигорскРаменскоеРеутовРостов-на-ДонуРубцовскРыбинскРязаньСакиСалаватСамараСанкт-ПетербургСаранскСаратовСевастопольСеверодвинскСеверскСергиев ПосадСерпуховСимферопольСмоленскСосновый БорСочиСтавропольСтарый ОсколСтерлитамакСтупиноСургутСызраньСыктывкарТаганрогТамбовТверьТихвинТольяттиТомилиноТомскТроицкТулаТюменьУлан-УдэУльяновскУссурийскУсть-ИлимскУфаУхтаФеодосияФрязиноХабаровскХанты-МансийскХасавюртХимкиЧебоксарыЧелябинскЧереповецЧеркесскЧеховЧитаШахтыЩелковоЭлектростальЭлистаЭнгельсЮжно-СахалинскЯкутскЯлтаЯрославль
  • - бесплатно по РФ
    Автоперезвон. Работает по принципу: Вы позвонили на номер, мы сбрасываем звонок и перезваниваем через 3 секунды.
  • - по Москве
  • 8 (925) 663-83-63

Call-центр

пн-вс: 10:00-19:00

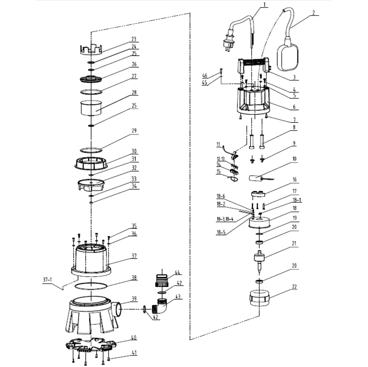
Насос дренажный НПГ-Т3-1300

Данная модель имеет несколько схем

NАртикулНазваниеСрок отгрузкиЦенаКупить
T21 U009-620-1RS Подшипник шариковый (32х12х10) U009-620-1RS для ЗЦПБ-370, ЗЭП-600Н, НПГ-М3-1100-С 189 р.
1 U099-004-009-10 Шнур сетевой Rubber 3x0.75мм 10м 480 р.
2 U452-400-002 Поплавок в сборе 657 р.
3 N000-026-028 Ручка
6 N000-026-029 Крышка насоса верхняя
8 N000-000-608 Воротник шнура 151 р.
9 N000-000-610 Втулка кабеля 151 р.
10 V000-007-560 Конденсатор 16мкФ 300В 286 р.
11 N000-000-752 Колодка клеммная
12 N000-000-643 Разъем
13 N000-000-644 Разъем
14 N000-000-645 Зажим
15 N000-000-646 Хомут
16 U452-400-011 Планка прижима 189 р.
16 N000-025-787 Сальник D24xd12xh4.5 N000-025-787 для насосов НПБ-300, НПГ-Т3-900, НПГ-Т3-1100-С 189 р.
17 UM02-000-039 Саморез 4x34 PH2 #F 92 р.
18 N000-000-613 Крышка двигателя верхняя
18.1 N000-000-614 Уплотнитель провода
18.2 UM04-003-001 Шайба стопорная D4 92 р.
18.3 N000-025-950 Провод соеденительный
18.4 N000-000-617 Клемма обжимная
18.5 UM04-001-002 Шайба-гровер D4 92 р.
18.6 UM01-000-012 Винт M4x10 92 р.
19 U365-150-038 Кольцо пружинное D31 92 р.
21 N000-026-030 Ротор
22 N000-026-031 Статор
22.C V000-001-692 Двигатель в сборе 1300 Вт 5.551 р.
23 N000-000-732 Уплотнение
24 N000-000-626 Прокладка
26 N000-000-628 Щит двигателя
27 N000-000-629 Кольцо уплотнительное
28 N000-026-032 Корпус двигателя нижний
29 U452-400-014 Уплотнение электродвигателя D92x5 286 р.
30 N000-026-033 Кольцо уплотнительное 286 р.
31 N000-026-034 Шайба
32 N000-026-035 Крыльчатка D115 (6 лопастей) 223 р.
33 N000-000-634 Прокладка регулировочная
34 UM05-001-003 Гайка M8 (автогровер) 92 р.
36 UM04-900-001 Шайба D5 92 р.
37 N000-026-036 Корпус насоса 1.159 р.
37.1 N000-010-109 Шарик стальной D6
38 N000-000-637 Кольцо уплотнительное
39 N000-026-037 Основание насоса 2.905 р.
40 N000-026-038 Крышка насоса
42 N000-026-040 Кольцо уплотнительное D54хd48хh2.5 25 р.
43 N000-026-041 Патрубок
44 N000-026-042 Штуцер выходной
45 N000-025-979 Шайба
46 N000-025-978 Винт
Найдено товаров: 49
1
▲ Наверх
0
8 (925) 663-83-63

Call-центр

пн-вс: 10:00-19:00

НАЙТИ ПО МОДЕЛИ
Введите номер заказа
Введите номер своего заказа, что бы узнать его текущий статус.
Что бы получить доступ к расширенным функциям, пройдите не сложную регистрацию. Зарегистрироваться